Дата публикации:
30.01.2024 г.
Сборка офисного кресла состоит из нескольких простых шагов:
Шаг первый. Достаньте все элементы из упаковки.
Стандартная модель состоит из:
Шаг второй. Вставьте ролики в базу (крестовину).
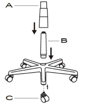
Шаг третий. Вставьте газлифт в базу (крестовину).
Шаг четвертый. Наденьте оболочку газлифта на газлифт сверху.

Шаг пятый. Прикрепите подлокотники к металлическим кронштейнам сидения винтами.

Шаг шестой. К сидению прикрепите спинку сидения.

Шаг седьмой. Установите собранное сидение на газлифт.
Шаг восьмой. Надавите сверху на сидение.
